Wij gebruiken cookies om uw ervaring beter te maken. Om te voldoen aan de cookie wetgeving, vragen we uw toestemming om de cookies te plaatsen. Meer informatie.
05241548 RVS waterlock/demper. Slang Ø51 mm. 4L. 0º/0º. 200x160mm.
€ 348,48 € 288,00
Artikel: 05241548 RVS waterlock/uitlaatdemper. Slang Ø51 mm. 4L. 0º/0º.
Op voorraad
SKU
05241548
Artikel: 05241548 RVS waterlock/uitlaatdemper. Slang Ø51 mm. 4L. 0º/0º.
Omschrijving:
Robuuste RVS waterlock/uitlaatdemper. Slang Ø51 mm. 4L. 0º/0º.
Deze waterlift is gemonteerd op een frame met 4 montagepunten.
Afmeting: 200 x 160 mm (Lengte x Ø).
Slangaansluiting Ø: 51 mm.
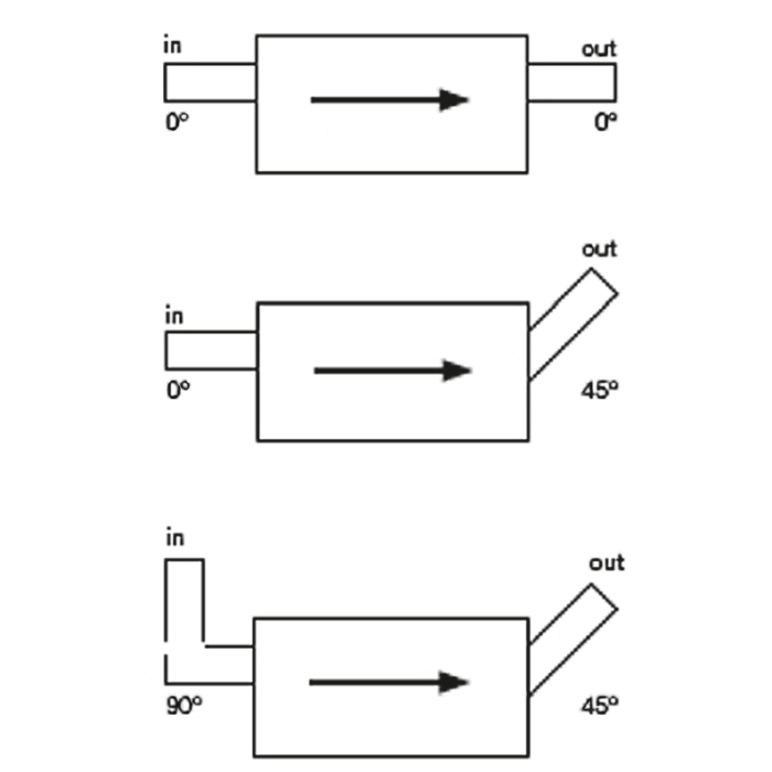
Slangaansluiting IN: 0º (zie afbeelding).
Slangaansluiting UIT: 0º (zie afbeelding).
Inhoud: 4 liter.
De aangegeven prijs is inclusief BTW.
INFORMATIE:
Voor een goede en veilige werking van de binnenboordmotor zijn bij een watergekoeld 'nat' uitlaatsysteem het gebruik van een zwanenhals, waterlift of waterlock en beluchter zeer belangrijk, zo niet noodzakelijk.
Een uitlaatdemper kan ook gebruikt worden maar is in veel gevallen niet nodig.
Zie ook enkele afbeeldingen met een schema's van alle componenten.
- Een zwanenhals creëert een hoogteverschil in de boot zodat het water van buitenboord niet naar binnen kan stromen en bovendien voorkomt een zwanenhals ook waterslag.
Waterslag ontstaat meestal wanneer de motor niet direct wil starten.
Als je lang door moet starten pompt de impellerpomp ook door en dan zit een waterlift of waterlock met uitlaatslang snel vol water en dan krijg je waterslag.
Dus als je motor niet direct wilt lopen dan meteen de koelwaterinlaat (kraan) afsluiten en zodra de motor loopt pas weer openen.
- Een waterlift of waterlock voorkomt ook dat er koelwater terug de motor in loopt.
Door een kleine overdruk wordt, als de motor stil staat, het koelwater altijd naar buiten geduwd.
Het koelwater kan dus niet meer de motor in stromen.
- Beluchter of anti-hevel ventiel wordt toegepast bij binnenboordmotoren die vlak boven of onder de waterlijn zijn geplaatst. Het voorkomt ook dat er (koel)water de motor (cilinders) in stroomt.
| Voorraadindicatie | Op voorraad |
|---|
